Manual For Kenmore Space Master Microwave Parts

- Shop for KENMORE MICROWAVE HOOD COMBO repair parts for model 0 at Sears PartsDirect. Find parts, manuals & diagrams for any KENMORE MICROWAVE HOOD COMBO repair project.
- Kenmore spacemaster microwave Auto recipe 300 I have a Kenmore spacemaster microwave Owners manual for Kenmore Elite Microwave Model 66462. Kenmore Spacemaster Auto Recipe 300 Manual Read/Download Kenmore Elite Microwave oven over the range model 88523.door opens KENMORE Microwave Over-the-range CLEAN and works perfectly! Orig manual included.

Kenmore SpaceMaster (5) Microwave Oven Problem Microwave quit while running. I replaced fuse. When I plugged it into outlet both fans started running and will not stop. I tried to shut off fan using panel button but nothing changed. I unplugged Microwave. What needs to be done to stop fans and make control panel work again and become.
. The microwave can still shock you even unplugged!!ALWAYS discharge the high-voltage capacitor first if you even think your hands will come close to any HIGH VOLTAGE components.Jeff mentions this: Anything in the high voltage ( magnetron, capacitor, diode, wires to and from ).Use a metal ( not the shiny chrome type ) screw driver with a insulated handle to short across ( touch both at the same time ) the terminals of the high voltage capacitor to discharge it.From Jeff's site:Jake. I have a Kennmore Spacemaster under-cabinet microwave, Mod. 7, which has stopped working.
Wife hit power button last night and there was a loud popping noise and microwave kept working but no heat. Clock works, lights, display all work. Just no heat.
I can set a time and start but don't get clunk sound as magnetron kicks in, sweeper fan inside works and timer counts down but no joy on heat. Is it the magnetron or maybe a fuse?
This unit was purchased by previous homeowners in 1994, I have the invoice but no manual. I have the unit down off the wall and have had it apart before for cleaning.
Please help.Sincerely,Chris Lewis.
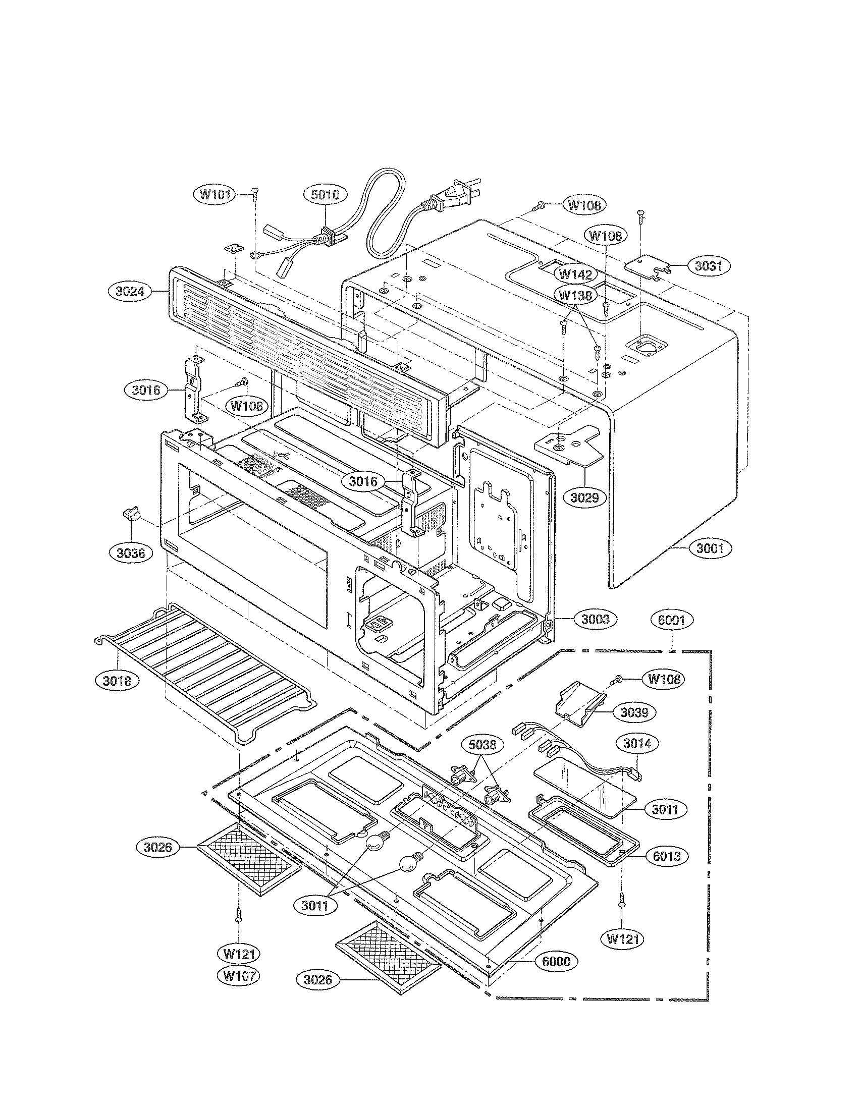
Kenmore Microwave Parts List
Part Number: 3B73362FThe microwave primary door switch, also known as a micro switch, is normally open. When the door is shut, the door switch will close to send power to the microwave to operate. If the microwave won’t start, then the switch has failed, and the part will need to be replaced. The micro switch is in the latch board section and monitors the position of the door. This part measures 1.5” L x.75” W NOTE: Due to the high voltage capacitor in the microwave, it can retain a lethal electrical charge, even when unplugged. It is suggested to have a service technician install the part. This is a genuine OEM part.
Please disconnect the power to the microwave before beginning the repair. Part Number: 6912W1Z004BThis 30 watt 120 volt incandescent light bulb, with a small screw base is used to light up the surface below your microwave or brighten the interior of the microwave once the door has been opened. If your light bulb is burnt out it will need to be replaced. Before you change the bulb, be sure to check that the light socket still works, as it may need to be replaced as well. Remember to disconnect the power to the microwave before you begin this repair.

This is a genuine OEM part and is sold individually. Part Number: This terminal block kit (also called terminal boards or strips) provides a convenient means of connecting individual electrical wires. This kit includes mounting screws and hex nuts and can be used with dryers and ranges. This kit allows you to attach the power cord to the inner wiring of your appliance.
If the terminal block is faulty, your appliance will not get the power it needs to operate properly. This is a genuine OEM part. Please remember to disconnect the power before starting your repair.